Scie à ruban hydraulique à archet pivotant pour la coupe angulaire de métaux de +60° à -45°, version HA entièrement hydraulique et semi-automatique.
Des experts disponibles au : 03 20 03 69 17
Délais de livraison variable suivant le transporteur adapté à votre commande.
Paiement 100% sécurisé
Retrait gratuit possible
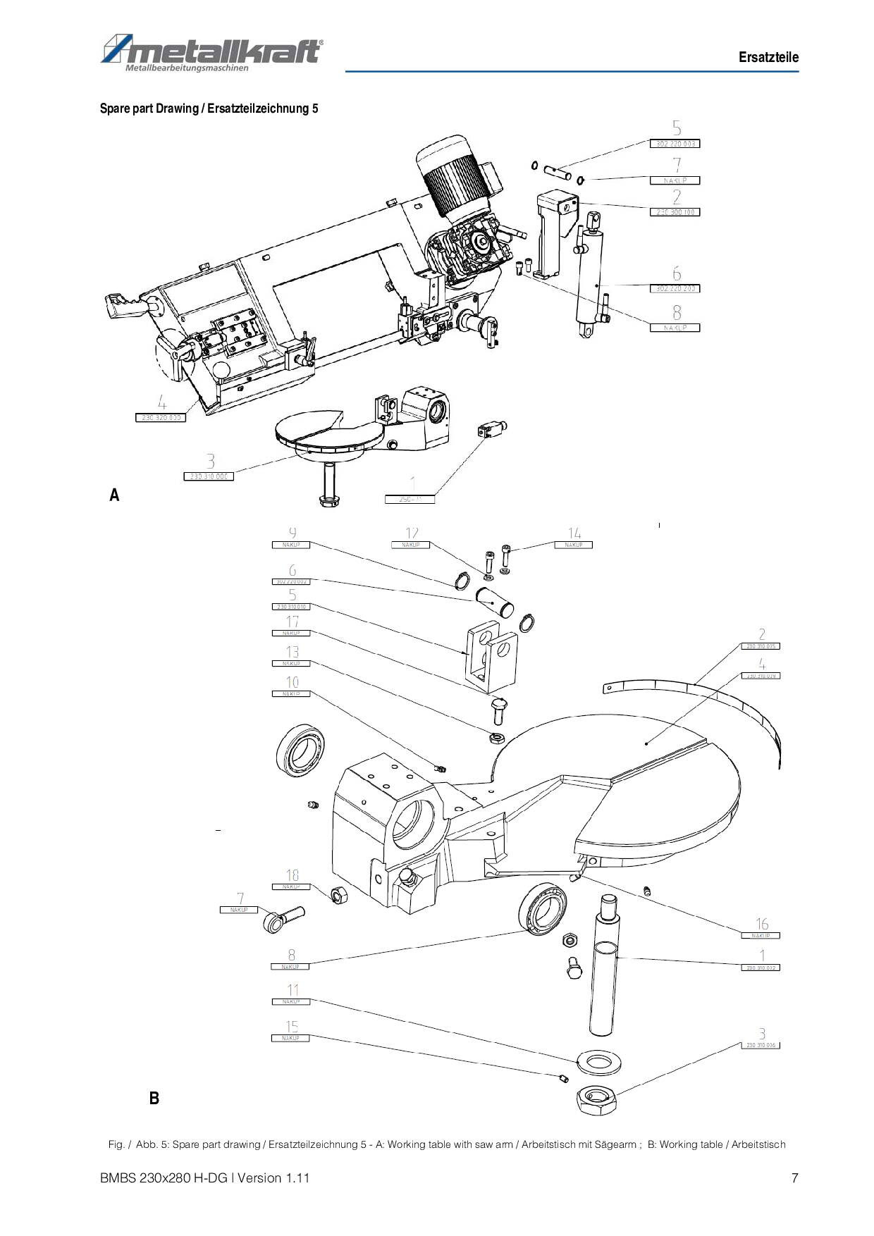
BMBS 230 x 280 H-DG
Accessoires de série :










Accessoires liés