Scies à métaux circulaires manuelles avec étaux à mors doubles. Excellente qualité de conception et de fabrication européennes.
Des experts disponibles au : 03 20 03 69 17
Délais de livraison variable suivant le transporteur adapté à votre commande.
Paiement 100% sécurisé
Retrait gratuit possible
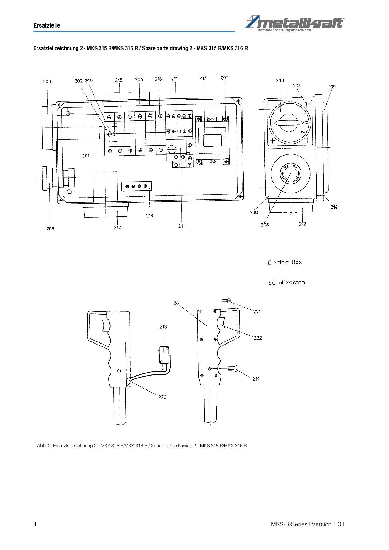
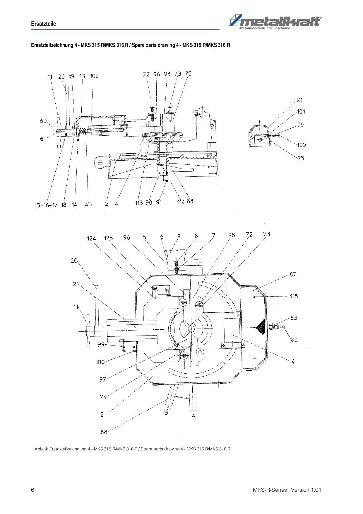
Equipements MKS 315 R / MKS 316 R





Accessoires liés