Traverse de support moteur Unicraft MMB 505
103,95 € HT
Hors livraison
6201705
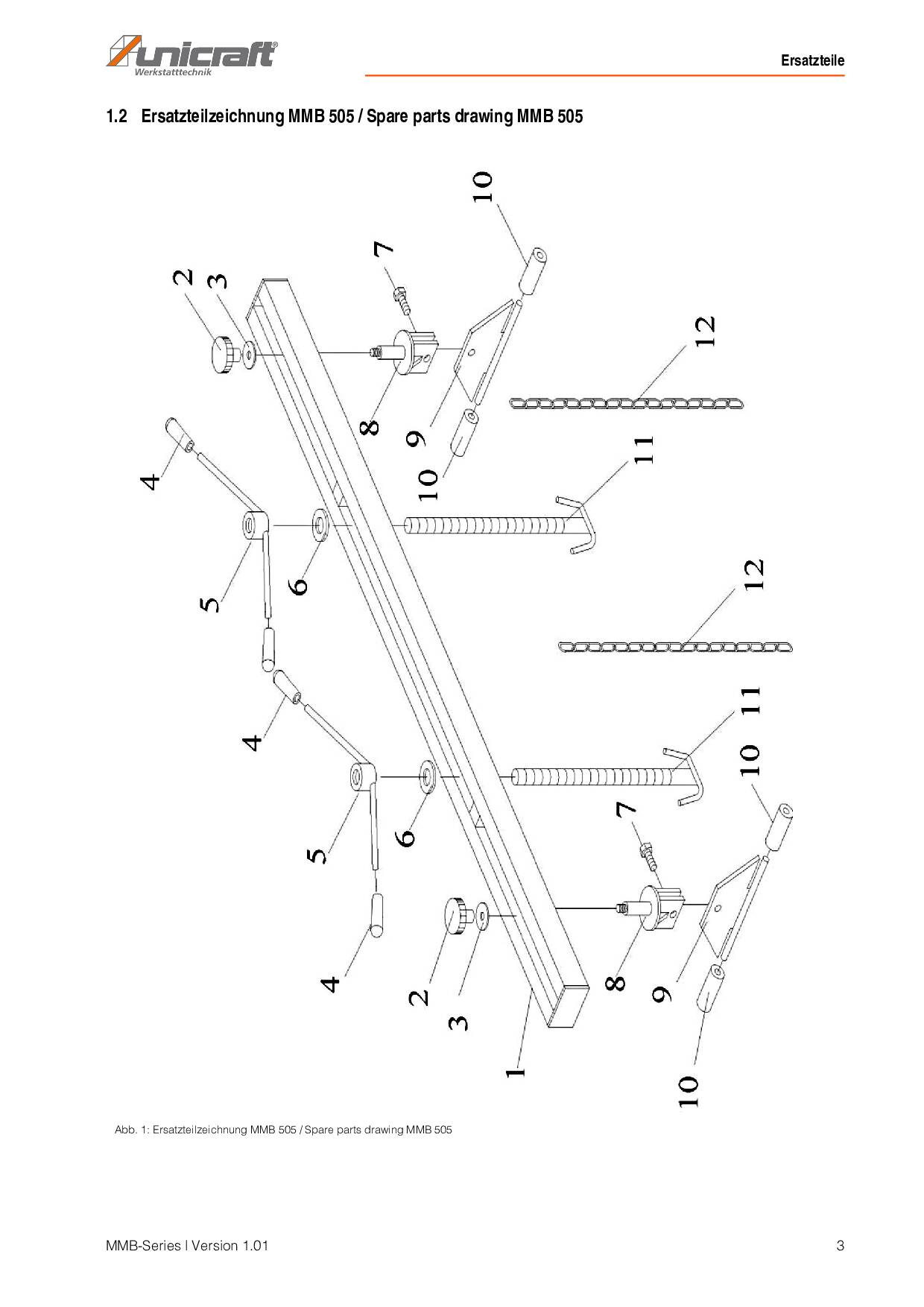
MMB 505 – Traverse de support moteur.
Des experts disponibles au : 03 20 03 69 17
Délais de livraison variable suivant le transporteur adapté à votre commande.
Paiement 100% sécurisé
Retrait gratuit possible
- Pour le maintien et le levage de moteurs par l’intermédiaire de deux broches de charge réglables
- Convient pour les moteurs transversaux et longitudinaux et les boîtes de vitesses
- Deux chaînes de sécurité incluses dans la livraison
- Pieds d’appui pivotants, verrouillables par molettes avec
- Spécifications techniques
- Plage de levage
- 0 à 200 mm
- Capacité
- 0,5 t
- Dimensions et poids
- Distance entre pieds d'appui
- 730 – 1480 mm
- Longueur
- 1510 mm
- Largeur
- 300 mm
- Hauteur
- 250 mm
- Poids net (brut)
- 16.2 kg

Accessoires liés
Découvrez notre
6201705FT2023